Qingdao Ruichen Sealing Technology Co, Ltd.
Qingdao Ruichen Sealing Technology Co, Ltd.
Mga produkto
X

Wiper Ring

Ang double-lip combination dust seal na inilunsad ng Ruichen Seal (isang kilalang tagagawa ng piston rod seal at tagapagtustos sa China) ay binubuo ng isang puno na PTFE sealing singsing at isang O-ring. Mayroon itong proteksyon ng two-way na alikabok at awtomatikong pag-andar ng kabayaran sa pagsusuot, mababang alitan, mahabang buhay at malakas na kakayahang umangkop, at malawakang ginagamit sa iba't ibang mga senaryo ng paggalaw ng pang-industriya tulad ng pagtugon, pag-swing at spiral.

Pagganap at aplikasyon

Ang double-lip na kumbinasyon ng wiper seal ay isang bidirectional wiper seal na binubuo ng isang PTFE na puno ng double-lip wiper singsing at isang O-ring. Ang O-ring ay nagbibigay ng preload, na nagbibigay ng pagsuot sa singsing ng PTFE. Ito ay angkop para sa pagtugon, pag -oscillating, o paggalaw ng spiral.


Mga kondisyon sa pagpapatakbo

Pressure MPa

Temperatura ° C.

Bilis m/s

Katamtaman

-

-35 ~+100 (pagtutugma ng O-Ring NBR)

6

Hydraulic oil, emulsion, tubig, atbp.

-20 ~+200 (pagtutugma ng O-Ring FKM)


Pag -order ng halimbawa

Order Model RCF02-80-PTFE3-R01

RCF02 - Model 80 - SHAFT Diameter PTFE3 - Pangkalahatang -Purpose Binagong PTFE RO1 - Pagtutugma ng Code ng Materyal na Goma

Nitrile (NBR) - R01, Fluorocarbon (FKM) - RO2

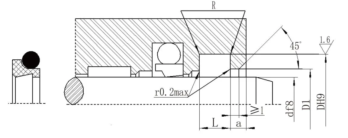
Ang talahanayan ng parameter ng pagtutukoy (maaaring maibigay ang mga produkto ng anumang laki sa loob ng saklaw ng parameter)

Saklaw ng Diameter ng Shaft D F8

Diameter ng Groove D H9

Lapad ng Groove L+0.2

Buksan ang diameter ng butas

D1H11

Buksan ang lapad ng butas A≥

Bilugan na sulok R≤

O-ring wire diameter

d0

4 ~ 11

D+4.8

3.7

D+1.5

2

0.4

1.80

12 ~ 64

D+6.8

5.0

D+1.5

2

0.7

2.65

65 ~ 250

D+8.8

6.0

D+1.5

3

1.0

3.55

251 ~ 420

D+12.2

8.4

D+2.0

4

1.5

5.30

421 ~ 650

D+16.0

11.0

D+2.0

4

1.5

7.00

651 ~ 1500

D+20.0

14.0

D+2.5

5

2.0

8.60


Mga Hot Tags: Wiper Ring
Magpadala ng Inquiry
Impormasyon sa Pakikipag-ugnayan
Kumuha ng mga presyo ng mapagkumpitensya, suporta sa teknikal, at mabilis na mga tugon. Ipadala ang iyong mga pagtutukoy sa Ruichen para sa mga naaangkop na solusyon sa sealing. Magagamit ang mga libreng sample.
X
Gumagamit kami ng cookies para mag-alok sa iyo ng mas magandang karanasan sa pagba-browse, pag-aralan ang trapiko sa site at i-personalize ang content. Sa paggamit ng site na ito, sumasang-ayon ka sa aming paggamit ng cookies. Patakaran sa Privacy
Tanggihan Tanggapin