Qingdao Ruichen Sealing Technology Co, Ltd.
Qingdao Ruichen Sealing Technology Co, Ltd.
Mga produkto
X

TC Oil Seal

Ang mga rotary shaft lip seal, na karaniwang kilala bilang mga oil seal, ay naka-install sa bearing housing at gumagalaw na may kaugnayan sa umiikot na shaft. Ang isang metal skeleton ay nagbibigay ng suporta, at ang isang spring ay naglalagay ng radial preload sa sealing lip upang maiwasan ang pagtagas ng lubricant at ang pagpasok ng mga panlabas na contaminant.

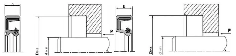
Istraktura ng Pag-install at Mga Kinakailangan

1. Shaft Material: Karaniwang ginagamit ang carbon steel at stainless steel. Para sa mataas na bilis, inilalapat ang chrome plating sa ibabaw, HRC40-45.

2. Disenyo ng Rotating Shaft at Grooves: Ang ibabaw ng shaft ay dapat na makinis at walang burr. Ang mga marka ng spiral machining ay maaaring lumikha ng isang pumping effect, na humahantong sa pagtagas. Inirerekomenda na ang oil seal mounting area ay gilingin hanggang sa magaspang na ibabaw na Ra0.1-0.5µm, na nagiging mas makinis sa pagtaas ng bilis. Para sa kadalian ng pag-install at pag-disassembly, ang baras at mga uka ay dapat na idinisenyo gamit ang mga chamfer o bilugan na mga gilid Tingnan ang Mga Figure 1 at 2.

Taas ng pagbubuklod

b

b1(0.85xb)

mm

b2(b+0.3)

mm

r

max.

7

5.95

7.3

0.5

8

6.80

8.3

0.5

10

8.50

10.3

0.5

12

10.30

12.3

0.7

15

12.75

15.3

0.7

20

17.00

20.3

0.7

Figure 1. Disenyo ng groove chamfer


d

d3

R

<10

d-1.5

2

10~20

d-2.0

2

20~30

d-2.5

3

30~40

d-3.0

3

40~50

d-3.5

4

50~70

d-4.0

4

70~95

d-4.5

5

95~130

d-5.5

6

130~240

d-7.0

8

240~500

d-11.0

12

500~800

d-14.0

14

800~1250

d-18.0

16

Figure 2 Chamfer na disenyo ng umiikot na baras


Mga salik na nakakaapekto sa pagganap ng rotary shaft lip seal 

Mayroong dose-dosenang mga kadahilanan na nakakaapekto sa epekto ng sealing. Bukod sa oil seal mismo, tulad ng materyal at istraktura nito, ang iba pang mga kadahilanan tulad ng medium, temperatura, presyon, pagpapadulas, bilis, at pagkamagaspang sa ibabaw ay direktang nakakaapekto sa epekto ng sealing, at ang mga salik na ito ay madalas na nakikipag-ugnayan sa isa't isa. Ang mga sumusunod na chart ay para sa sanggunian ng user lamang.

Figure 3. Epekto ng temperatura sa oil seal


Pag-install: Ang maingat na pag-install ay isang kinakailangan para sa wastong paggana ng mga oil seal.

Diagram ng pag-install (pag-install ng cavity)

Tamang paraan ng pag-install

Naaangkop na mga kondisyon sa pagtatrabaho

Maling paraan ng pag-install

Naaangkop lang ang paraang ito kapag ang oil seal na dulong mukha at ang dulo ng lukab ay namumula. Kapag ang kagamitan sa pagpindot ay mabilis na gumagana, ang oil seal ay dapat na nakaposisyon nang tama; kung hindi, maaaring mangyari ang misalignment.

 

Ang disenyo na ito ay angkop para sa mga sitwasyon kung saan ang oil seal na dulo ng mukha ay mas mababa kaysa sa lukab na dulo ng mukha. Kahit na may mabilis na pagpindot, ang oil seal ay maaari pa ring maayos na nakaposisyon. Gayunpaman, ang ganitong uri ng kabit ay kulang sa radial positioning, samakatuwid ang axial perpendicularity ng flat plate ng pressing device at pressure shaft ay dapat makamit ang isang tiyak na katumpakan.

Ang pamamaraang ito ay angkop para sa mga sitwasyon kung saan ang oil seal end face ay mas mababa kaysa sa cavity end face. Kapag mabilis na pinindot ang kagamitan, mahalagang tiyakin na ang oil seal ay nakaposisyon nang tama; kung hindi, maaaring mangyari ang misalignment.


 

 


Ang pamamaraang ito ay angkop lamang para sa pagpapanatili o simpleng mga kondisyon ng pag-install kung saan hindi magagamit ang pressure equipment. Dahil ang ganap na pare-parehong pagpindot ay hindi makakamit sa panahon ng pag-install, ang iba't ibang mga problema sa pag-install ay hindi maiiwasan. Pangunahing idinisenyo ito upang maiwasan ang radial misalignment sa panahon ng pag-install, na maaaring ma-deform ang oil seal, o upang maiwasan ang pagkasira ng goma ng oil seal mating part (outer circle) dahil sa mga paghinto sa panahon ng pag-install. Samakatuwid, ang paraan ng pag-install na ito ay karaniwang hindi inirerekomenda.

 

Mga seal ng langis ng TC/SC/TB/SB

Parehong binubuo ng metal frame, spring, at goma na katawan. Ang metal frame ay nagbibigay ng suporta, at ang spring ay naglalapat ng radial force sa sealing lip. Parehong may dustproof na auxiliary lip ang mga modelo ng TC at TB, na angkop para sa mga application kung saan ang isang gilid ay naglalaman ng sealing medium at ang kabilang panig ay naglalaman ng alikabok. Ang mga modelo ng TB/SB ay may metal na panlabas na bilog, na ginagawang mas secure at tumpak ang oil seal sa loob ng lukab. Gayunpaman, ang kakayahang mag-sealing ng panlabas na bilog ay limitado para sa low-viscosity at gaseous media; samakatuwid, inirerekumenda na mag-aplay ng sealant sa panlabas na bilog sa panahon ng pag-install at paggamit.

Cross-sectional na hugis

Modelo

Aplikasyon

Presyon

Temperatura

Bilis

Katamtaman

materyal

TC

Sealing, dustproof

0.03MPa

-30~+160

20m/s

Lubricating oil at grasa

NBR/FKM + Carbon Steel

SC

Pagtatatak

TB

Sealing, dustproof

-30~+100

25m/s

Tubig, lubricating oil, grasa

NBR + Carbon Steel

SB

Pagtatatak

Order model TC-d*D*b

Pagtutukoy

Pagtutukoy

Pagtutukoy

Pagtutukoy

Pagtutukoy

Pagtutukoy

Pagtutukoy

TC-6*17*3.5

TC-9*25*7

TC-10*30*7

TC-12*25*10

TC-13*25*7

TC-14*32*8

TC-15*30*7

TC-7*18*7

TC-10*18*7

TC-11*22*7

TC-12*26*7

TC-13*26*7

TC-14*32*10

TC-15*30*8

TC-8*18*7

TC-10*19*7

TC-I1*25*7

TC-12*28*7

TC-13*28*7

TC-14*35*7

TC-15*30*10

TC-8*20*7

TC-10*20*5

TC-11*30*10

TC-12*28*8

TC-13*30*8

TC-14*35*8

TC-15*32*7

TC-8*22*7

TC-10*20*7

TC-12*19*3

TC-12*30*7

TC-14*24*7

TC-14*40*7

TC-15*32*10

TC-8*22*8

TC-10*22*5

TC-12*20*7

TC-12*30*10

TC-14*25*7

TC-15*22*8

TC-15*35*7

TC-8*25*7

TC-10*22*7

TC-12*21*7

TC-12*32*7

TC-14*26*7

TC-15*24*7

TC-15*35*8

TC-8*25*8

TC-10*22*8

TC-12*22*5

TC-12*32*10

TC-14*27*7

TC-15*25*5

TC-15*35*10

TC-8*30*7

TC-10*22*10

TC-12*22.5*5.5

TC-12*35*7

TC-14*28*7

TC-15*25*7

TC-15*38*7

TC-9*16*5

TC-10*24*7

TC-12*22*7

TC-12*35*10

TC-14*28*8

TC-15*25*8

TC-15*38*8

TC-9*18*7

TC-10*25*5

TC-12*22*8

TC-12.7*22.22*5

TC-14*28*10

TC-15*26*7

TC-15*38*10

TC-9*19*7

TC-10*25*7

TC-12*24*6

TC-12.7*25.4*7

TC-14*29*7

TC-15*27*7

TC-15*40*8

TC-9*20*7

TC-10*25*10

TC-12*24*7

TC-12.7*26*8

TC-14*30*7

TC-15*27*8

TC-15*40*10

TC-9*22*7

TC-10*26*7

TC-12*25*7

TC-12.7*30*8

TC-14*30*10

TC-15*28*7

TC-15*42*7

TC-9*24*7

TC-10*28*7

TC-12*25*8

TC-13*23*7

TC-14*32*7

TC-15*28*10

TC-15*42*8

 




Mga Hot Tags: TC Oil Seal
Magpadala ng Inquiry
Impormasyon sa Pakikipag-ugnayan
Kumuha ng mga presyo ng mapagkumpitensya, suporta sa teknikal, at mabilis na mga tugon. Ipadala ang iyong mga pagtutukoy sa Ruichen para sa mga naaangkop na solusyon sa sealing. Magagamit ang mga libreng sample.
X
Gumagamit kami ng cookies para mag-alok sa iyo ng mas magandang karanasan sa pagba-browse, pag-aralan ang trapiko sa site at i-personalize ang content. Sa paggamit ng site na ito, sumasang-ayon ka sa aming paggamit ng cookies. Patakaran sa Privacy
Tanggihan Tanggapin