|
Presyon/MPa |
Temperatura / °C |
Bilis /m/s |
Katamtaman |
|
≤40 |
-35~+100 (na may katugmang NBR O-rings) |
≤2 |
Hydraulic oil, emulsion, tubig, gas, atbp. |
-20~+200 (na may katugmang O-rings FKM) |
1. Ang mga angkop na materyales sa O-ring ay kinabibilangan ng: R01 Nitrile Butadiene Rubber (NBR), R02 Fluororubber (FKM), atbp.
2. Mga materyales sa sealing ring: Mga karaniwang materyales na PTFE3 at PTFE4; iba pang mga opsyonal na materyales ay kinabibilangan ng PTFE1, PTFE2, at PTFE5.
Si Ruichen ay nagsagawa ng independiyenteng pananaliksik at pagpapaunlad at produksyon mula sa simula ng mga hilaw na materyales, na napagtatanto ang kontrol ng buong hanay ng mga produkto.
1. Engineering plastics at composite materials: Kinukuha namin ang polytetrafluoroethylene (PTFE) bilang core, mula sa paghahalo, sintering hanggang sa paghubog, independiyenteng produksyon ng lahat ng uri ng napuno na binagong composite materials tube at rod, at pagkatapos ay precision processing sa mga seal. Tinitiyak nito ang katatagan at pagpapasadya ng mga materyal na katangian.
2. High-performance polyurethane elastomer: Nagsisimula kami sa prepolymer casting, nakapag-iisa na gumagawa ng de-kalidad na polyurethane pipe at rod na materyales, at pinoproseso ang mga ito sa iba't ibang uri ng mga seal, na namumukod-tangi sa wear resistance, pressure resistance at hydrolysis resistance.
Halimbawa ng Pag-order
Pag-order ng Modelo RC2054—80×69×4.2—PTFE3—R01 Model-D*d*L- Material Code ng Pag-order ng Modelo RCX18—80×69x4.2—HPU Model-D*d*L- Material Code
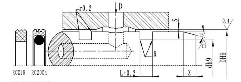
Talahanayan ng mga pagtutukoy at parameter (anumang detalye sa loob ng hanay ng parameter ay available)
|
Saklaw ng aperture DH9 |
Diametro ng trench dh9 |
Lapad ng trench L+0.2 |
Radial clearance Smax |
Mga bilugan na sulok Rmax |
Chamfer Zmin |
|
|
0~10Mpa |
10~20Mpa |
|||||
|
8~39 |
D-4.9 |
2.2 |
0.15 |
0.1 |
0.4 |
2 |
|
40~79 |
D-7.5 |
3.2 |
0.2 |
0.15 |
0.6 |
3 |
|
80~132 |
D-11.0 |
4.2 |
0.25 |
0.2 |
1.0 |
4 |
|
133~329 |
D-15.5 |
6.3 |
0.3 |
0.25 |
1.3 |
5 |
|
330~669 |
D-21.0 |
8.1 |
0.3 |
0.25 |
1.8 |
7 |
|
670~1500 |
D-28.0 |
9.5 |
0.45 |
0.3 |
2.0 |
8 |
|
D |
d |
L |
D |
d |
L |
D |
d |
L |
D |
d |
L |
|
8 |
3.1 |
2.2 |
50 |
42.5 |
3.2 |
170 |
154.5 |
6.3 |
380 |
359.0 |
8.1 |
|
10 |
5.1 |
2.2 |
55 |
47.5 |
3.2 |
180 |
164.5 |
6.3 |
390 |
369.0 |
8.1 |
|
12 |
7.1 |
2.2 |
60 |
52.5 |
3.2 |
190 |
174.5 |
6.3 |
400 |
379.0 |
8.1 |
|
14 |
9.1 |
2.2 |
63 |
55.5 |
3.2 |
200 |
184.5 |
6.3 |
420 |
399.0 |
8.1 |
|
15 |
10.1 |
2.2 |
65 |
57.5 |
3.2 |
210 |
194.5 |
6.3 |
450 |
429.0 |
8.1 |
|
16 |
11.1 |
2.2 |
70 |
62.5 |
3.2 |
220 |
204.5 |
6.3 |
480 |
459.0 |
8.1 |
|
18 |
13.1 |
2.2 |
75 |
67.5 |
3.2 |
230 |
214.5 |
6.3 |
500 |
479.0 |
8.1 |
|
20 |
15.1 |
2.2 |
80 |
69.0 |
4.2 |
240 |
224.5 |
6.3 |
520 |
499.0 |
8.1 |
|
22 |
17.1 |
2.2 |
85 |
74.0 |
4.2 |
250 |
234.5 |
6.3 |
550 |
529.0 |
8.1 |
|
24 |
19.1 |
2.2 |
90 |
79.0 |
4.2 |
260 |
244.5 |
6.3 |
600 |
579.0 |
8.1 |
|
25 |
20.1 |
2.2 |
95 |
84.0 |
4.2 |
270 |
254.5 |
6.3 |
630 |
609.0 |
8.1 |
|
28 |
23.1 |
2.2 |
100 |
89.0 |
4.2 |
280 |
264.5 |
6.3 |
650 |
629.0 |
8.1 |
|
30 |
25.1 |
2.2 |
105 |
94.0 |
4.2 |
290 |
274.5 |
6.3 |
670 |
642.0 |
9.5 |
|
32 |
27.1 |
2.2 |
110 |
99.0 |
4.2 |
300 |
284.5 |
6.3 |
700 |
672.0 |
9.5 |
|
35 |
30.1 |
2.2 |
115 |
104.0 |
4.2 |
310 |
294.5 |
6.3 |
750 |
722.0 |
9.5 |
|
36 |
31.1 |
2.2 |
120 |
109.0 |
4.2 |
320 |
304.5 |
6.3 |
800 |
772.0 |
9.5 |
|
38 |
33.1 |
2.2 |
125 |
114.0 |
4.2 |
330 |
309.0 |
8.1 |
1000 |
972.0 |
9.5 |
|
40 |
32.5 |
3.2 |
130 |
119.0 |
4.2 |
340 |
319.0 |
8.1 |
|
|
|
|
42 |
34.5 |
3.2 |
140 |
124.5 |
6.3 |
350 |
329.0 |
8.1 |
|
|
|
|
45 |
37.5 |
3.2 |
150 |
134.5 |
6.3 |
360 |
339.0 |
8.1 |
|
|
|
|
48 |
40.5 |
3.2 |
160 |
144.5 |
6.3 |
370 |
349.0 |
8.1 |
|
|
|
Tandaan: Ang mga kinakailangang detalye ay hindi nakalista dito; mangyaring makipag-ugnayan sa aming kumpanya. Nag-aalok kami ng mga produkto na may maximum na diameter na 2800mm.



Address
No.1 Ruichen Road, Dongliuting Industrial Park, Chengyang District, Qingdao City, Shandong Province, China
Tel