|
Presyon/MPa |
Temperatura / °C |
Bilis /m/s |
Katamtaman |
|
≤40 |
-35~+100 (na may NBR O-ring) |
≤2 |
Hydraulic oil, emulsion, tubig, gas, atbp. |
|
-20~+200 (na may FKM O-ring) |
1. Magagamit na O-ring na materyales: R01 Nitrile Butadiene Rubber (NBR), R02 Fluororubber (FKM), atbp.
2. Mga materyales sa sealing ring: Mga karaniwang materyales na PTFE3 at PTFE4; iba pang mga opsyonal na materyales ay kinabibilangan ng PTFE1, PTFE2, at PTFE5.
Halimbawa ng Pag-order
Pag-order ng Modelo RC2052—80x91×4.2—PTFE3—R01 Model-dxDxL- Material Code
Pag-order ng Modelo RCX17—80x91×4.2—HPU Model-dxDxL- Material Code
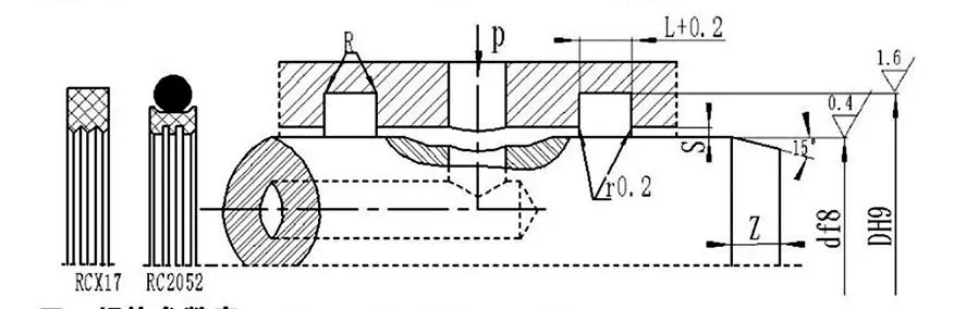
Talahanayan ng mga pagtutukoy at parameter (anumang detalye sa loob ng hanay ng parameter ay available)
|
Saklaw ng diameter ng baras d f8 |
Diametro ng trench DH9 |
Lapad ng trench L+⁰.2 |
Radial clearance Smax |
Mga bilugan na sulok Rmax |
Chamfer Zmin |
|
|
0~10Mpa |
10~20Mpa |
|||||
|
6~18 |
d+49 |
2.2 |
0.15 |
0.1 |
0.4 |
2 |
|
19~37 |
d+7.5 |
3.2 |
0.2 |
0.15 |
0.6 |
3 |
|
38~199 |
d+11.0 |
4.2 |
0.25 |
0.2 |
1.0 |
4 |
|
200~255 |
d+15.5 |
6.3 |
0.3 |
0.25 |
1.3 |
5 |
|
256~649 |
d+21.0 |
8.1 |
0.3 |
0.25 |
1.8 |
7 |
|
650~1500 |
d+28.0 |
9.5 |
0.45 |
0.3 |
2.0 |
8 |
Tandaan: Para sa mga diameter ng baras na ≤ 30mm, inirerekomenda ang mga bukas na uka.
|
d |
D |
L |
d |
D |
L |
d |
D |
L |
d |
D |
L |
|
8 |
12.9 |
2.2 |
48 |
59.0 |
4.2 |
150 |
161.0 |
4.2 |
350 |
371.0 |
8.1 |
|
10 |
14.9 |
2.2 |
50 |
61.0 |
4.2 |
160 |
171.0 |
4.2 |
360 |
381.0 |
8.1 |
|
12 |
16.9 |
2.2 |
55 |
66.0 |
4.2 |
170 |
181.0 |
4.2 |
370 |
391.0 |
8.1 |
|
14 |
18.9 |
2.2 |
60 |
71.0 |
4.2 |
180 |
191.0 |
4.2 |
380 |
401.0 |
8.1 |
|
15 |
19.9 |
2.2 |
63 |
74.0 |
4.2 |
190 |
201.0 |
4.2 |
390 |
411.0 |
8.1 |
|
16 |
20.9 |
2.2 |
65 |
76.0 |
4.2 |
200 |
215.5 |
6.3 |
400 |
421.0 |
8.1 |
|
18 |
22.9 |
2.2 |
70 |
81.0 |
4.2 |
210 |
225.5 |
6.3 |
420 |
441.0 |
8.1 |
|
20 |
27.5 |
3.2 |
75 |
86.0 |
4.2 |
220 |
235.5 |
6.3 |
450 |
471.0 |
8.1 |
|
22 |
29.5 |
3.2 |
80 |
91.0 |
4.2 |
230 |
245.5 |
6.3 |
480 |
501.0 |
8.1 |
|
24 |
31.5 |
3.2 |
85 |
96.0 |
4.2 |
240 |
255.5 |
6.3 |
500 |
521.0 |
8.1 |
|
25 |
32.5 |
3.2 |
90 |
101.0 |
4.2 |
250 |
265.5 |
6.3 |
520 |
541.0 |
8.1 |
|
28 |
35.5 |
3.2 |
95 |
106.0 |
4.2 |
260 |
281.0 |
8.1 |
550 |
571.0 |
8.1 |
|
30 |
37.5 |
3.2 |
100 |
111.0 |
4.2 |
270 |
291.0 |
8.1 |
600 |
621.0 |
8.1 |
|
32 |
39.5 |
3.2 |
105 |
116.0 |
4.2 |
280 |
301.0 |
8.1 |
630 |
651.0 |
8.1 |
|
35 |
42.5 |
3.2 |
110 |
121.0 |
4.2 |
290 |
311.0 |
8.1 |
650 |
678.0 |
8.1 |
|
36 |
43.5 |
3.2 |
115 |
126.0 |
4.2 |
300 |
321.0 |
8.1 |
670 |
698.0 |
9.5 |
|
38 |
49.0 |
4.2 |
120 |
131.0 |
4.2 |
310 |
331.0 |
8.1 |
700 |
728.0 |
9.5 |
|
40 |
51.0 |
4.2 |
125 |
136.0 |
4.2 |
320 |
341.0 |
8.1 |
750 |
778.0 |
9.5 |
|
42 |
53.0 |
4.2 |
130 |
141.0 |
4.2 |
330 |
351.0 |
8.1 |
800 |
828.0 |
9.5 |
|
45 |
56.0 |
4.2 |
140 |
151.0 |
4.2 |
340 |
361.0 |
8.1 |
1000 |
1028.0 |
9.5 |
Tandaan: Ang mga kinakailangang detalye ay hindi nakalista dito; mangyaring makipag-ugnayan sa aming kumpanya. Nag-aalok kami ng mga produkto na may maximum na diameter na 2800mm.





All-round na pag-install at mga tagubilin sa paggamit
Alam ni Rui Chen na ang tamang pag-install ay ang unang kinakailangan upang matiyak ang buong pagganap ng mga seal, bibigyan ka rin namin ng komprehensibong gabay sa paggamit ng bawat produkto, lalo na ang kumplikado o hindi karaniwang mga custom na bahagi, magkakaroon ng detalyadong graphic na gabay sa pag-install.
Ang mga gabay na ito ay sinamahan ng mga high-definition na step-by-step na diagram at mga text na tagubilin na malinaw na nagpapakita ng mga punto ng inspeksyon bago ang pag-install, ang mga tamang hakbang sa pag-install, ang mga tool na kinakailangan at ang mga maling operasyon na dapat iwasan, na parang nasa site ang aming mga inhinyero. Bilang karagdagan, para sa mga kumplikadong assemblies o system, gumagawa kami ng mga propesyonal na video tutorial na nagbibigay-daan sa iyong mga operator na intuitively at mabilis na makabisado ang mga diskarte sa pag-install at pag-iingat sa pamamagitan ng mga dynamic na demonstrasyon, na lubos na binabawasan ang panganib ng maagang pagkabigo dahil sa hindi tamang pag-install.
Address
No.1 Ruichen Road, Dongliuting Industrial Park, Chengyang District, Qingdao City, Shandong Province, China
Tel