Pangunahing mga hydraulic seal ng Ruichen Seals ang pangunahing mga uri ng mga seal, bawat isa ay may sariling mga pakinabang. Ang mga O-singsing ay malawakang ginagamit sa iba't ibang mga dinamikong at static sealing okasyon dahil sa kanilang mababang gastos sa pagmamanupaktura at maginhawang paggamit. Karamihan sa mga bansa ay nagbalangkas ng isang serye ng mga pamantayan ng produkto para sa mga O-singsing, na kung saan ang American Standard (AS568), ang Japanese Standard (JISB2401) at ang International Standard (ISO 3601/1) ay mas karaniwan. Ang pambansang pamantayan ay GB3452.1 at GB1235.
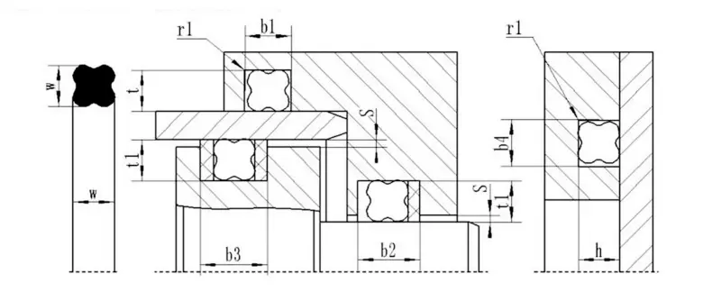
Ang singsing na may hugis ng bituin ay isang apat na lip seal na may hugis na X na hugis, kaya tinatawag din itong isang singsing na may x. Ito ay isang pagpapabuti at pagpapahusay batay sa O-ring. Ang mga dimensyang cross-sectional nito ay pareho sa O-singsing ng US bilang pamantayan ng 568A, at maaari itong palitan ang paggamit ng O-ring.
Mga bentahe ng mga singsing ng bituin
Kung ikukumpara sa mga O-singsing, ang mga singsing ng bituin ay may mas kaunting paglaban sa alitan at hindi gaanong pagsisimula ng pagtutol dahil bumubuo sila ng isang lubricating na lukab sa pagitan ng mga labi ng sealing. Dahil ang gilid ng flash nito ay matatagpuan sa malukong bahagi ng seksyon ng cross, mas mahusay ang epekto ng sealing. Ang di-pabilog na seksyon ng cross ay epektibong maiiwasan ang lumiligid na kababalaghan sa panahon ng paggalaw ng paggalaw.
Mekanismo ng Paggawa ng Star Ring
Ang singsing ng bituin ay isang self-tightening na double-acting sealing element. Ang mga puwersa ng radial at axial ay nakasalalay sa presyon ng system. Habang tumataas ang presyon, ang pagpapapangit ng compression ng singsing ng bituin ay tataas, at tataas ang kabuuang lakas ng pagbubuklod, sa gayon ay bumubuo ng isang maaasahang selyo.
Paano pumili ng isang singsing na may hugis ng bituin
Kung ang diameter ng baras at butas ay kilala, piliin ang naaangkop na singsing na hugis ng bituin ayon sa mga sumusunod na pamantayan:
1. Static Sealing o Reciprocating Linear Motion: (1) Hole Sealing: Ang panloob na diameter ng singsing na hugis ng bituin ay dapat na katugma sa uka, o mas mababa sa tungkol sa 2% ng diameter ng ilalim ng groove. Dahil ang pre-compression na puwersa na nabuo ng pre-compression ay maaaring epektibong maiwasan ang singsing na hugis ng bituin mula sa pag-twist at pag-ikot. . Bilang isang resulta, ang singsing ng selyo ay magiging mas madaling i -install at magkaroon ng mas mahabang buhay ng serbisyo.
2. Rotary Sealing: Ang panloob na diameter ng singsing na hugis ng bituin ay dapat na tungkol sa 2 ~ 5% na mas malaki kaysa sa diameter ng shaft na tinatakan nito. Sapagkat ang singsing ng selyo ay bubuo ng alitan at init kapag ginamit sa isang umiikot na paggalaw, at ang goma ay pag -urong kapag pinainit (joule effect). Samakatuwid, upang matiyak na ang singsing ng selyo ay maaaring lubricated at gumana nang maaasahan, ang isang singsing na hugis ng bituin na may isang panloob na diameter na mas malaki kaysa sa diameter ng baras ay dapat mapili. Karaniwan, ang isang singsing ng selyo na may isang mas maliit na cross-section ay maaaring matugunan ang mga pangangailangan ng static sealing. Sa kabaligtaran, ang isang singsing ng selyo na may isang mas malaking seksyon ng cross ay dapat mapili upang matugunan ang dynamic na selyo. Sa kaso ng mataas na presyon o malalaking gaps, ang isang materyal na goma na may mas mataas na katigasan ay dapat mapili. Ang pinakamahusay na paraan ay upang magdagdag ng isang singsing na pagpapanatili ng PTFE upang maiwasan ang pinsala sa mataas na presyon ng presyon.
Ang pinahiran na O-ring na organiko ay pinagsasama ang pagkalastiko at pagbubuklod ng goma na may paglaban ng kemikal ng Teflon. Ito ay binubuo ng isang silicone o fluororubber na panloob na core at isang medyo manipis na Teflon FEP o Teflon PFA panlabas na patong.
Materyal: Ang Teflon FEP at Teflon PFA ay mahalagang katulad, ngunit ang Teflon PFA ay may mas mahusay na paglaban sa temperatura kaysa sa Teflon FEP. Naaangkop na saklaw ng temperatura Teflon FEP shell: -60 ℃ ~ 205 ℃ Maaaring magamit sa 260 ℃ Para sa isang maikling panahon Teflon PFA shell: -60 ℃ ~ 260 ℃ Maaaring magamit sa 300 ℃ para sa isang maikling oras na pakinabang:
1. Natitirang paglaban ng kemikal, angkop para sa halos lahat ng media ng kemikal
2. Malawak na saklaw ng temperatura
3. Magandang paglaban sa compression
4. Anti-friction
5. Mahusay na anti-swelling
6. Mataas na paglaban sa presyon
7. Napakahusay na tibay ng sealing at mahabang buhay ng serbisyo
Application: Mga bomba at balbula, mga vessel ng reaksyon, mga mekanikal na seal, mga filter, mga vessel ng presyon, mga palitan ng init, boiler, pipeline flanges, gas compressor, atbp.
Mga industriya ng aplikasyon: industriya ng kemikal, pagmamanupaktura ng sasakyang panghimpapawid, industriya ng parmasyutiko, transportasyon ng langis at kemikal at pagpino, industriya ng pelikula, engineering engineering, industriya ng pagproseso ng pagkain, industriya ng papeles, paggawa ng pangulay, pag -spray ng pintura, atbp.
Mga tagubilin sa pag -install para sa mga singsing ng sealing
1. Ang mga bahagi kung saan naka -install o dumaan ang mga singsing ng sealing ay dapat na makinis, walang mga burrs, grooves at matalim na sulok. Ang pagkamagaspang ng panloob na butas ay dapat umabot sa 1.6μ at ang pagkamagaspang ng baras ay dapat umabot sa 0.8um.
2. Mag -apply ng malinis na ilaw na langis o grasa upang lubricate ang ibabaw ng singsing ng sealing at ang mga nauugnay na bahagi sa pakikipag -ugnay.
3. Kung mahirap i -install ang singsing ng sealing sa baras, ibabad ito sa mainit na tubig sa loob ng ilang minuto upang mapalawak ito. Ang paglambot at pinalawak na O-ring ay mas madaling mai-install. I-install ang O-singsing kapag ito ay mainit, at ang laki nito ay babalik sa orihinal na laki nito pagkatapos ng paglamig.
4. Huwag ibaluktot ang O-ring masyadong marahas, kung hindi man ito ay magiging sanhi ng mga wrinkles sa Teflon at makakaapekto sa paggamit nito.
Ang inirekumendang compression ng coated O-ring ay ang mga sumusunod:
Static Sealing State: 15%-20%
Dynamic Sealing State: 10%-12%
Pneumatic State: 7%-8%
Ang aktwal na compression ay dapat isaalang -alang ang mga kondisyon ng pagtatrabaho, lalo na ang presyon ng pagtatrabaho sa sealing at iba pang mga kadahilanan.
Mga Tampok at Aplikasyon ng Produkto:
| Talahanayan ng parameter ng pagganap ng O-Ring |
|
|
|
|
Static Seal | Dynamic Seal |
| Paggawa ng presyon | Nang walang pagpapanatili ng singsing, 20MPA max Sa pagpapanatili ng singsing, 40 MPa max, espesyal na pagpapanatili ng singsing 200MPA max | Nang walang pagpapanatili ng singsing, 5MPa max Sa pagpapanatili ng singsing, mas mataas na presyon |
| Bilis | Pagrekord ng 0.5m/s max, umiikot na 2m/s max | |
| Temperatura | Pangkalahatang Paggamit: -30 ~+110, Espesyal na Goma: -60 ~+250, umiikot: -30 ~+80 | |
| Katamtaman | Tingnan ang seksyon ng mga materyales | |
| Pamantayan | O-singsing na cross-section diameter w |
|
|||||
| American Standard bilang 568 British Standard BS 1516 | 1.78 | 2.62 | 3.52 | 5.33 | 6.99 | - | |
| Pamantayan ng Hapon ito B2401 | 1.9 | 2.4 | 3.1 | 3.5 | 5.7 | 8.4 | |
| International Standard ISO 3601/1 German Standard DIN 3771/1 Chinese Standard CB 3452.1 | 1.8 | 2.65 | 3.55 | 5.30 | 7.00 | - | |
| Ginustong laki ng sukatan | 1.0 | 1.5 | 2.0 | 2.5 | 3.0 | 3.5 | |
| 4.0 | 4.5 | 5.0 | 5.5 | 6.0 | 7.0 | ||
| 8.0 | 10.0 | 12.0 |
|
|
|
||
| American Standard bilang 568 (900 serye) | 1.02 | 1.42 | 1.63 | 1.83 | 1.98 | 2.08 | |
| 2.21 | 2.46 | 2.95 | 3.00 |
|
|
|
|
| Ang saklaw ng application ng mga singsing ng bituin ay napakalawak. Piliin ang tamang materyal ayon sa temperatura, presyon at daluyan. Upang maiangkop ang singsing ng bituin sa isang naibigay na aplikasyon, dapat isaalang -alang ang magkaparehong mga hadlang sa pagitan ng lahat ng mga nagtatrabaho na mga parameter. Kapag tinutukoy ang saklaw ng application, dapat isaalang -alang ang temperatura ng rurok, patuloy na temperatura ng pagtatrabaho at operating cycle. Sa umiikot na mga aplikasyon, dapat ding isaalang -alang ang pagtaas ng temperatura na sanhi ng init ng friction. | |||||
| Mga teknikal na parameter | Dynamic Seal | Static Seal |
|
||
| Paggalaw ng paggalaw | Rotational Motion |
|
|||
| Paggawa ng presyon (MPA) | Sa pagpapanatili ng singsing | 30 | 15 | 40 |
|
| Nang walang pagpapanatili ng singsing | 5 | - | 5 |
|
|
| Bilis (m/s) | 0.5 | 2.0 | - |
|
|
| Temperatura (℃) | Pangkalahatang okasyon: -30 ℃ ~+110 ℃ |
|
|||
| Mga Espesyal na Materyales: -60 ℃ ~+200 ℃ |
|
||||
| Mga okasyon sa pag -ikot: -30 ℃ ~+80 ℃ |
|
||||
Materyal na singsing ng bituin:
Ang materyal sa pangkalahatan ay shaw a70 nitrile goma nbr.
Pinahiran na O-ring:
Ang diagram ng eskematiko ng uka ng encapsulated O-ring
Talahanayan ng sukat ng uka ng encapsulated o-singsing (inirerekomenda)
| Wire diameter d | A (mm) | B (mm) | ||
| Static Seal | Dynamic Seal | Pneumatic Seal | ||
| 1.78 | 2.36/2.49 | 1.42/1.52 | 1.55/1.60 | 1.63/1.65 |
| 2.62 | 3.56/3.68 | 2.08/2.21 | 2.29/2.36 | 2.39/2.44 |
| 3.53 | 4.75/4.88 | 2.82/3.00 | 3.10/3.18 | 3.22/3.28 |
| 5.33 | 7.14/7.26 | 4.27/4.52 | 4.67/4.80 | 4.90/4.95 |
| 6.99 | 9.63/9.65 | 5.59/5.89 | 6.15/6.27 | 6.43/6.48 |
Ruichen Seal PTFE Seal Pag -install ng Gabay
Ⅰ. Gabay sa Pag -install
1. Ang selyo ay dapat na mai -install sa preloaded side, na nakaharap sa direksyon ng presyon.
2. Ang silindro na katawan at piston rod ay dapat gawin gamit ang mga push-in chamfers na nakakatugon sa mga kinakailangan ng mga sample ng aming kumpanya.
3. Ang mga matulis na gilid ay dapat na libre sa mga burrs at bilugan o chamfered.
4. Mga thread, gabay na singsing ng mga grooves, atbp ay dapat na sakop, dahil ang selyo ay hindi maaaring itulak sa pamamagitan ng mga grooves, drilled hole o magaspang na ibabaw.
5. Ang anumang alikabok, labi o iba pang mga dayuhang partikulo ay dapat na maingat na alisin.
6. Ang mga tool na may matalim na mga gilid ay hindi dapat gamitin.
7. Ang mga singsing ng sealing ng PTFE ay mas madaling mapalawak sa pinainit na langis o tubig (mga 80 ~ 120 degree) at madaling ibalik sa kanilang orihinal na hugis.
8. Kung ang labi ng selyo ay kailangang dumaan sa butas ng presyon ng langis, ang isang plastik na stick ay dapat gamitin upang malumanay na itulak ang labi upang maiwasan ang chamfer ng butas mula sa pagsira sa sealing lip. Ang mga butas ng silindro ay dapat na chamfered. (Larawan 3)
Ⅱ. Paraan ng pag -install
Buksan (split) ang mga grooves ay maaaring mai -install nang walang mga tool.
Pag -install ng Saradong Groove Piston Rod Seals (Larawan 1)
1. Malinis at langis ang lahat ng mga substrate ng selyo, mga seal at mga tool sa pag -install.
2. Ilagay ang singsing ng goma sa uka (mag -ingat na huwag i -twist ito).
3. I -compress ang singsing ng selyo ng PTFE sa isang hugis ng bato nang hindi bumubuo ng isang matulis na liko, ilagay ang naka -compress na singsing na ptfe seal sa uka, at malumanay na i -flat ito sa pamamagitan ng kamay.
4. Itulak ang mandrel ng pagbawi sa selyo at malumanay na i -on ang mandrel. Iwanan ito ng 1 minuto at alisin ang mandrel. Kumpleto ang pag -install.
Pag -install ng mga piston seal sa mga saradong grooves (Larawan 2)
1. Malinis at langis ang lahat ng mga substrate ng selyo, mga seal at mga tool sa pag -install.
2. Ilagay ang singsing ng goma sa uka (mag -ingat na huwag i -twist ito).
3. Itulak ang singsing ng PTFE sealing papunta sa gabay na manggas at iunat ang singsing ng sealing.
4. Itulak ang nakaunat na singsing na sealing sa piston groove.
5. Itulak ang manggas ng pagwawasto sa singsing ng sealing at paikutin ang manggas ng pagwawasto nang sabay. Alisin ang manggas ng pagwawasto pagkatapos iwanan ito ng 1 minuto at kumpleto ang pag -install.
Tandaan: 1. Mangyaring kumunsulta sa aming kumpanya kung ang tinukoy na produkto sa sample ng aming kumpanya ay hindi mai -install sa isang saradong uka ngunit hindi angkop para sa isang bukas na uka.
2. Ang pag -install sa itaas ng mga ptfe seal ay hindi naaangkop sa lahat ng mga seal ng PTFE. Mangyaring kumunsulta sa aming kumpanya kung kinakailangan.



























Address
No.1 Ruichen Road, Dongliuting Industrial Park, Chengyang District, Qingdao City, Shandong Province, China
Tel