Ang pagpapanatili ng singsing ay ginagamit kasabay ng O-singsing o singsing ng bituin upang maiwasan ang singsing ng sealing mula sa pagkawasak sa agwat sa mababang presyon sa ilalim ng pagkilos ng presyon. Habang patuloy na tumataas ang presyon, ang singsing ng sealing ay nasira ng "extrusion" at sa huli ay nabigo na magtatak ng. Kung ginagamit ang isang retaining ring, maaaring mapigilan ang "extrusion" ng sealing singsing. Samakatuwid, ang pagpapanatili ng singsing ay isang suplemento sa singsing ng sealing. Ito ay hindi isang selyo mismo, ngunit pinatataas nito ang saklaw ng pagtatrabaho ng presyon ng singsing ng sealing.
Ang pagpapanatili ng singsing ay ginagamit kasabay ng O-singsing upang maiwasan ito mula sa "extrusion", epektibong protektahan ang O-singsing, dagdagan ang buhay ng serbisyo nito, at payagan ang isang mas malaking agwat ng sealing, sa gayon binabawasan ang mga gastos sa pagproseso.
Mga Tampok at Aplikasyon ng Produkto:
Pagpapanatili ng form ng singsing at uri ng istraktura
Teknikal na data
Working Pressure: Ang static seal ay maaaring umabot ng halos 200MPa (depende sa materyal at uri ng selyo ng pagpapanatili ng singsing), ang pagbigkas ng selyo ay maaaring umabot ng halos 40MPa. Ang pag -ikot ng swing/mabagal na bilis ay maaaring umabot ng halos 15MPa.
Bilis: Ang pag -recordrocating at pag -ikot ay maaaring umabot ng halos 2m/s (depende sa materyal).
Mga pamantayan sa pag -order
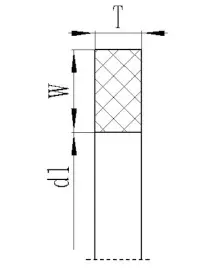
(1) Ang serye ng T01 na pagpapanatili ng mga singsing ay binubuo ng panloob na diameter D1, lapad W at kapal ng T.
Halimbawa: T01-00356 D1: 3.56*W: 1.35*T: 1.23
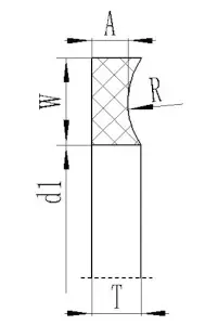
(2) Ang serye ng T02 na pagpapanatili ng mga singsing ay binubuo ng panloob na diameter D1, lapad W, at kapal ng A at T.
Halimbawa: T02-027 D1: 33.78*W: 1.35*A: 1.14*T: 1.24



Address
No.1 Ruichen Road, Dongliuting Industrial Park, Chengyang District, Qingdao City, Shandong Province, China
Tel